模型预警
更新时间: 2022-12-28 14:38:47
1. 概述
模型预警适用于对数据模型进行预警设置,目前所支持的设置规则与报表预警基本一致,但模型预警需要设置聚合方式。
应用场景:可以帮助您实时监测模型中的指标,针对某一指标及其关联指标不再需要对每一份报告进行设置。
2. 快速入门
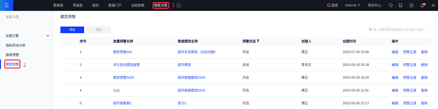
(1)您可在[智能决策-模型预警]模块列表中查看预警记录,对预警进行创建、编辑、删除、搜索等操作。

(2)点击[添加]按钮,选择数据模型,创建一个新的模型预警;

(3)如下图所示,选择聚合维度为地区,即可根据地区来对成本指标进行聚合,监测不同地区下的成本大于销售额的情况;

(4)其他如数据权限、检测时间、通知方式、接收人等与报表预警设置规则一致,这里不在赘述。